Ничто так не делает человека счастливым как глупость.
вторник, 28 февраля 2017 г.
среда, 22 февраля 2017 г.
Мал да удал
![]() |
| Ветрогенератор Бергея, из патента US 4,291,235. |
Ветряк, который совершенно необходимо здесь описать, крайне редко встречается в исторических обзорах, только разве что в очень узкоспециальных и то мельком (на сайте "Ветер перемен", например, ему уделено пара строк и фотографий). И это при том, что его модификации, не сильно ушедшие в сторону от прототипа, до сих пор выпускаются всё той же фирмой "Бергей" (Bergey wind power). Впрочем, может быть, именно поэтому его и не вспоминают, ибо не история, а современность. Новейшая история тяжела в изложении; ещё живы очевидцы, ещё не все награды розданы непричастным и не все невиновные наказаны. Приходится описывать то, что есть, а не то, что рассказывают. Конструкция ветряка Бергея, выдержавшая проверку временем, содержит в себе два изобретения, что представляют собой новейшую струю ветроэнергетики, в которую даже ещё не все ведущие мировые производители успели влиться .
У фирмы два основателя -- Карл и Майк Бергей (Karl Bergey&Mike Bergey). Карл прославился как конструктор легкомоторной авиации, Майк же больше специализировался по ветроэнергетике, но их совместная фирма начинается с патента Карла, в котором тот описал свою ветряную мельницу. Как именно у них это всё происходило, мне неизвестно, люди они, похоже, не очень публичные, непонятно даже, родственники ли они друг другу, или же просто однофамильцы. Изобретение было впервые опубликовано в журнале Wind Power Digest весной 1978 года, американский же патент на него за номером 4,291,235 -- в сентябре 1981 года. Первый рабочий экземпляр турбины, соответствующей патенту, закрутился ещё до его публикации, в 1980 году, а в 1983 году начался серийный выпуск 10-киловаттной машины Bergey Excel, ставшей флагманом фирмы. Уже в первые несколько лет фирма продала сотни её экземпляров.
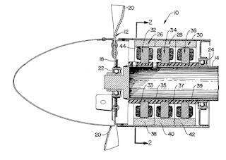
![]() |
| Генератор, рисунок из патента. |
Хоннеф мечтал реализовать безредукторную схему на ободе ветроколеса большого диаметра, но она оказалась возможной на валу ветряка малой мощности. В чём же дело? В электронике. К середине 70-х годов прошлого века она достигла больших высот, уже компьютеры управляли ветряными мельницами. В "Икселе" обошлось без компьютера, востребованным оказалось другое достижение -- появились и стали недорогими полупроводниковые приборы, способные работать с токами большой мощности. Эти приборы были нужны, чтобы преобразовывать "дикий" ток (wild AC) с генератора в удобоваримый переменный ток постоянной частоты. "Диким" ток получался из-за того, что ротор ветряка вращался с переменной скоростью, переменной была и частота выдаваемого генератором напряжения. "Дикий" ток вначале нужно было выпрямить, а затем преобразовать в переменный ток фиксированной частоты. Без мощных полупроводников это было сделать крайне затруднительно. Похожую схему использовали в Твинд, но там от безысходности, ведь твиндовцам приходилось собирать запчасти к ветряку на помойке. Бергей же выбрал "дикий" ток сознательно и отказался от редуктора, а заодно и от токосъёмников, поскольку катушки располагались на неподвижном статоре.
Генераторы постоянного тока использовались ещё в первых ветрогенераторах, но, во-первых, генерируемый ими ток был постоянным только в том плане, что не менял полярность, в остальном же он тоже был диковат, а, во-вторых, ток уходил в аккумулятор, откуда попадал к потребителю тоже в виде постоянного тока. Чтобы преобразовать его в переменный, требовался генератор, который затруднительно собрать без полупроводников так, чтобы избежать больших потерь. Поэтому, по мере повышения мощности ветрогенераторов, конструкторы переходили к генераторам переменного тока, поскольку постоянный ток большой мощности очень неудобен в использовании. Причём, они предпочитали синхронные генераторы, которые требуют постоянной скорости вращения ротора. Асинхронный генератор хотя и может работать на разных скоростях, но у него тоже есть свои недостатки, связанные с необходимостью генерации переменного магнитного поля с частотой сети. В генераторе Бергея магнитное поле создавалось постоянными магнитами (чьё производство к тому времени тоже достигло больших успехов), поэтому поле создавать не требовалось, но расплатой за эту экономию выступала невозможность контролировать частоту выходного тока. Ток получался "диким".
Отказ от фиксации частоты вращения ротора также был сознательным. Бетц с Жуковским лихо вывели максимальную эффективность ветряка, но из их теоремы никак нельзя выяснить, как можно было бы её достичь, и до сих пор тропа к ней указана по большей части опытными, эмпирическими данными. Наиболее важные факторы, влияющие на эффективность ветряка, это форма лопастей и их количество. При одной и той же форме ротора эффективность ветряка будет зависеть от отношения скорости движения конца лопасти к скорости ветра. В англоязычной литературе это соотношение именуется tip speed ratio и обозначается буквой λ, в отечественной (у Е.М.Фатеева, например) называется числом модулей и обозначается буквой Z. Максимальная эффективность ветряка достигается тогда, когда это отношение сохраняется одним и тем же при любой скорости ветра. Опытным путём определено, что для современных трёхлопастных ветряных колёс это отношение примерно равно 7. То есть, конец лопасти должен двигаться со скоростью в семь раз большей, чем скорость ветра, а поскольку скорость ветра меняется, то и скорость вращения ротора должна меняться, если мы хотим достичь максимальной эффективности.
![]() |
| Ротор Бергея, из патента. |
Во-первых, вначале работы турбины лопасти в ненапряжённом состоянии при малом ветре обеспечивают вращательный момент, подходящий для страгивания турбины с места. В покоящемся генераторе постоянные магниты ротора подмагничивают статор, из-за чего ротор со статором как бы слипаются, так что для старта нужно приложить заметное усилие. Затем, по мере возрастания скорости вращения ротора, лопасти изгибаются, закручиваются, обеспечивая оптимальную аэродинамическую эффективность при высоком λ. Во-вторых, когда скорость вращения ротора превысит расчётную, грузы дополнительно выгнут лопасти, что приведёт к отрыву потока и притормаживанию турбины. В-третьих, грузы повышают собственную частоту колебаний лопастей и предотвращают возникновение флаттера.
Ниже небольшое видео об "Икселе", которым лучше предварить выводы о плюсах и минусах ветряка. Поскольку, да...
Видео начинается с того, что ветряк не видно, но слышно. Шум, пожалуй, главный его недостаток, если не считать цены. Источник шума -- концы лопастей и грузы тоже, разумеется, добавлют. Современные модели как-то обходятся без них и шумят вроде меньше. Тем не менее, с широких концов лопастей срываются вихри, они и шумят, заодно снижая аэродинамическую эффективность (которая вряд ли может быть высокой). О цене. На сайте производителя нет прайс-листа, но примерный расчёт, который можно там найти, покопавшись поисковиком, показывает, что прибыль будет получена уже на 26-й год эксплуатации. И эти мельницы действительно столько работают, хотя на ум невольно приходят слова Великого Комбинатора о вечной игле для примуса. В качестве ещё одной ложки дёгтя добавлю, что в современных "Икселах" используются неодимовые магниты, а добыча неодима наносит существенный вред окружающей среде.
В чём же плюсы? Вот как раз в долговечности, как у иглы для примуса. Она же определяется изобретениями, описанными в патенте. Во-первых, нет редуктора, главного источника поломок. Ветряк "Иксел" стал первым безредукторным (gearless), ещё в начале 80-х годов прошлого века. Во-вторых, нет щёток и прочих токосъёмников в генераторе, что также снижает потребность в техобслуживании. В-третьих, гибкие лопасти, которые смягчают удары порывов ветра. В-четвёртых, жёсткое крепление лопасти к ступице. То самое место, где вечно рвётся, в "Икселе" сделано максимально надёжно; из всех напряжений оставлены только растягивающие, да и они приложены к широкой полосе, которую не оторвать. Судя по словам производителя, все случавшиеся с ветрогенератором проблемы сводятся к электронной части, к преобразователю.
Так что, машина получилась спорная, но для своей области удачная.
вторник, 21 февраля 2017 г.
вторник, 14 февраля 2017 г.
пятница, 10 февраля 2017 г.
Парк Калифорнийского периода
![]() |
| Эрик Грове-Нильсен, фото с его сайта "Ветер перемен". |
Теперь трудно не только определить сколько и каких турбин установили в Калифорнии во время лихорадки, но и то, и другое по отдельности. Причина тут не только в прошедших десятилетиях, но и в том, что турбины устанавливали не производители, а компании продавцы электроэнергии, в первую очередь корпорация "Зонд" (Zond Corp.), прожившая недолгую криминальную жизнь, чьи архивы не отличались доступностью и сгинули где-то в недрах ещё более скандальной компании "Энрон" (Enron). Да и компаний-производителей тоже, по большей части, уже нет с нами. Подсчёт турбин на местности точного результата не даст, многие из них уже демонтировали. Да и кто их станет считать? По некоторым данным, общее число турбин достигло 15 тысяч (некоторые из них не работали никогда), помимо 12-ти датских компаний, турбины поставляли 15 американских и 8 европейских. Так что в будущем нечто подобное палеонтологическим раскопкам и в самом деле будет иметь смысл.
Когда в какой-нибудь водоём попадает большое количество удобрений, в нём происходит бурный рост водных растений, а затем начинают погибать рыбы и прочие животные. Они гибнут от недостатка кислорода в воде. Казалось бы, производительность растений, дающих кислород, увеличилась, а кислорода стало меньше... Растений становится так много, что солнечный свет перестаёт проходить на глубину. Весь фотосинтез ограничивается тонким поверхностным слоем воды, в котором живут водоплавающие растения, мелкие водоросли и одноклеточные. Этот слой активно обменивается газами с воздухом и кислород из него уходит в атмосферу. Более того, растения, которым не хватило место наверху, перемещаются в глубокие слои воды, ко дну, где отмирают, а их мёртвые ткани окисляются, съедая весь кислород в воде. Нечто подобное произошло в Калифорнии. Денежная подкормка вызвала бурное цветение, но не того, чего хотелось бы. Нажились многие, но только не ответственные производители.
В чём же ошибался Мальтус? В том, что люди неспособны управлять своим поведением. Оставлю в стороне вопрос о том, кто же всё-таки управляет жизнью человеческой и всем вообще распорядком на земле, ибо ответ на него, в нашем случае, не имеет решительно никакого значения, важно, что кто-то или что-то управляет, и это наблюдаемый факт.
В 1984 году в Дании государственные субсидии покрывали до 40% расходов ветростроителей. За каждый киловатт-час произведённой ветропарком электроэнергии государство доплачивало четверть марки. Распределительные сети покупали у них электричество по цене 85% от розничной (я не знаю, какова была оптовая цена для электростанций в то время в Дании, но в Москве теперь она примерно в два раза ниже розничной), а подключали к сети за 35% себестоимости за счёт субсидий. Рост пошёл не хуже, чем в Калифорнии, к счастью, в масштабе Дания/США. Строили ветряки, в основном, сельские кооперативы. Однако, золотой дождь продолжался недолго, субсидии на строительство постепенно срезались. В декабре 1985 года были введены ограничения для инвесторов: все они должны были жить в радиусе 10 километров от ветропарка, выработка электричества не должна превышать потребления более чем на 35%. Короче говоря, строй, пожалуйста, но у себя на огороде и не на продажу. Строительство сразу сократилось на треть. Вместо колхозников-самостройщиков правительство заставило распределительные сети ввести в строй 100 МВт ветряных мощностей. Одним из возложенных на сети обязательств стала разработка и внедрение новых, мощных ветряков заместо вот этих вот огородных чучелок.
среда, 8 февраля 2017 г.
Калифорнийская ветрянка
![]() |
| Проход Св. Горгония (San Gorgonio Pass) в Калифорнии. |
В Америке 70-х существовало своё антиядерное движение. Особенное развитие оно получило в штате Калифорния, соседствующем с ядерным полигоном и знаменитым своей творческой интеллигенцией. К тому же, в Калифорнии строились атомные станции, что добавляло нервозности. В 1979 году на атомной станции Три-Май-Айленд в штате Пенсильвания случилась тяжёлая авария с расплавлением активной зоны реактора, американский Чернобыль. И хотя заметного радиоактивного выброса со станции не произошло (спасло защитное сооружение, внутри которого находился реактор), местные власти по рекомендации оператора станции провели эвакуацию населения из районов, прилегающих к станции, что не могло не вызвать бурной реакции общественности. В Калифорнии ещё до аварии проходили акции против атомной станции в каньоне Дьявола (Diablo Canyon), после же начался просто какой-то апокалипсис (вот надо было выбрать место с таким названием в религиозной стране). Так, в 1981 году на акции протеста против Дьявола было арестовано почти две тысячи манифестантов, что стало рекордом США, да и другие страны могут похвастаться такими облавами разве что в чрезвычайных ситуациях, близких к боевым действиям. Власти штата были вынуждены заморозить строительство новых атомных станций. Но Калифорния нуждалась в электричестве...
В качестве альтернативного источника энергии среди других рассматривался ветер. Хотя Калифорния не самый ветряный штат, но там есть немало подходящих для сбора ветра мест. Побережье Калифорнии отделено от материка активным геологическим разломом (сейсмическая активность региона была одним из доводов противников ядерной энергетики), из-за него рельеф местности сильно пересечённый, с протяжёнными долинами между хребтами. По этим долинам ветер несётся как по воздуховодам. Кроме того, долины маловодны и не представляют интереса для какой-то другой хозяйственной деятельности. Ресурс был, но его нечем было брать -- федеральные программы занимались наукой, их ветряки были непригодны для практического использования. Частные американские фирмы, как и в Европе, пытались занять нишу, но их техника была не лучше НАСАвской. Даже активная помощь со стороны властей штата ничего не могла сделать.
![]() |
| Турбина Дарье производства фирмы "Алкоа". |
И это была единственная хорошая новость. Плохие же новости быстро распространяются, куда быстрее, чем хорошие. Вскоре плохие новости из Калифорнии пересекли Атлантику. Бытуют различные свидетельства касательно того, кто к кому первый поехал: американцы к европейцам или наоборот. События развивались стремительно, так что вероятно ездили и те, и другие одновременно, потому как и у тех, и у других были причины. У американцев были деньги, у европейцев товар. Соединение двух интересов породило явление, вошедшее в историю под именем "Великая калифорнийская ветряная лихорадка" (The Great California Wind Rush), по примеру "золотых лихорадок" (gold rush) XIX-го века, очевидно. Откуда у европейцев появились мельницы, мы уже более-менее знаем, осталось выяснить, откуда взяли деньги калифорнийцы.
В 1974 году, в последний год своего правления Калифорнией, переоценённый актёр Рональд Рейган подписал Акт Уоррена-Алквиста о сохранении и развитии источников энергии (Warren-Alquist State Energy Resources Conservation and Development Act). В соответствии с этим актом был создан правительственный орган штата, Энергетическая комиссия (Energy Commission), под начальством губернатора и с обширными полномочиями. Фактически, комиссия стала министерством энергетики штата. Рейган, будучи консерватором, ничего такого новаторского не планировал, подписывая акт, но пришедший ему на смену Джерри Браун-младший (Edmund Gerald "Jerry" Brown Jr.) отличался необычными идеями и воспользовался данным ему инструментом в полной мере. Прошедшее время здесь не вполне уместно. Сын губернатора (поэтому младший) Джерри Браун правил штатом два срока, после чего сделал "рокировочку" с Арни и теперь вновь у руля, уже четвёртый срок, и в Калифорнии вновь лихорадка, на этот раз солнечная. В пору своего первого губернаторского срока Браун получил прозвище "Опилки-и-Ветряки" (Woodchips and Windmills) из-за своих планов использования энергии ветра и биомассы. Позднее ему дали ещё одно прозвище -- дзен-фашист, которое ещё больше говорит о его необычной натуре.
В 1978 году законодатели Калифорнии ввели налоговый кредит, который вместе с федеральными льготами позволял вдвое сокращать расходы на строительство ветроустановок. Энергетическая комиссия создала свой проект развития ветроэнергетики, поменьше, чем федеральный, но с большей практической направленностью. Кое-что на его основе было построено в самом начале 80-х, но это были плохие новости. Лихорадка началась в 1982 году, когда власти Калифорнии через свои структуры заключили первый стандартный оффер на 30 лет. Подобные контракты заключались до 1985 года, до конца второго губернаторства Опилок-и-Ветряков.
В чём заключался смысл схемы? Власти давали налоговые льготы электрораспределительной компании на весь объём её деятельности под то условие, что она будет производить закупки у поставщиков, производящих электричество из ветра с помощью ветряков определённой мощности. Поскольку компания делала большой бизнес на электричестве из традиционных источников, то её интересовала только мощность подключённых ветрогенераторов, если же с них ещё и электричество пойдёт, то будет совсем замечательно. Ради такого дела компания готова была платить ветряным поставщикам любые запрошенные ими суммы (в пределах разумного, а именно, налоговых льгот, которые по некоторым сведениям достигали 100 млн. US$ в ценах начала 80-х). Поставщики нашлись немедленно. Правда, у них не было мельниц, но имея такой контракт они готовы были найти эти чёртовы мельницы где угодно, хоть на другом конце земли. Потому что в соответствии с контрактом они получали деньги даже при неработающих ветрогенераторах.
Option A - As-available capacity based upon:Конечно, это был риск со стороны властей Калифорнии, но рисковали они только частью налогов одной компании. Кроме того, электричество в Калифорнии было одним из самых дорогих в штатах, так что налогов с него и с вычетами было много. Вопрос стоял не о потере денег, а выйдет ли вообще какой-нибудь толк из всей этой затеи. Поэтому контракт был составлен хитро, риски поделили, так что у поставщика не получилось бы долго совсем ничего не производить, но при этом продолжать получать оплату.
Standard Offer No. 1
Capacity Payment Schedule,
or
Forecast of Annual As-Available Capacity Payment Schedule. The as-available capacity price (first year): $_____/kW-yr.
Outage periods for scheduled maintenance shall not exceed 840 hours (35 days) in any 12-month period.Да и за произведённое электричество какие-никакие деньги шли. Тем не менее, основные выплаты были привязаны к установленной мощности. Ну и, конечно, получить заполненный экземпляр контракта с проставленными суммами и теперь нельзя.
Уже в первый год в Калифорнии установили 25-30 турбин, тогда же к гонке подключился Техас, а на следующий год Айова. В 1983 году число турбин достигло 350-ти, общей мощностью 20 МВт. Легко подсчитать, что турбины устанавливались небольшие, мощностью около 50 кВт. В 1986 году, когда налоговые льготы закончились, а цены на нефть упали до горбачёва, суммарная мощность установленных в Калифорнии ветряков достигла 1200 МВт. В одной только долине Алтамонт Пасс (Altamont Pass) понатыкали 6200 ветряков общей мощностью 583 МВт.
![]() |
| Алтамонт Пасс на Гугл-картах. |
Все наверняка видели получившийся сюрреалистической ландшафт. Калифорнийские ветряки любят снимать в американских фильмах как депрессивные индустриальные декорации, благо из Голливуда ехать всего ничего. Теперь этот самострой потихоньку сносят, заменяя его новыми, более мощными, и, самое главное, работающими ветряными турбинами, потому как доходы от старых турбин не покрывают расходы на их содержание. Помимо экономических и эстетических претензий к железякам из 80-х есть ещё одно "э", экологическое. Как это ни странно, но злейшими противниками калифорнийского частокола стали защитники природы. Чёртовы мельницы убивают птиц. Это факт, другое дело, как он подаётся. Даже самые завышенные оценки не свидетельствуют о какой-то серьёзной угрозе. Да и не нужны тут какие-то хитрые оценки. Мельницы в Калифорнии стоят уже тридцать с лишком лет; птичий век недолог, если бы мельницы наносили популяционный ущерб, то поголовье птиц давно бы сократилось, чего не происходит. Современные мельницы тоже убивают птиц, но делают это ещё реже, так что и этой неприятности скоро станет меньше.
Вот так союз бабла и орала пробил непробиваемую брешь в стене, отделяющей ветряные мельницы от промышленной энергетики. Даже несмотря на то, что калифорнийские железяки больше стояли, чем работали, всё равно выдаваемая ими мощность составляла сотни мегаватт, что соответствует крупной промышленной электростанции. Расходы же на содержание этого зверинца хотя и были высоки, однако, вовсе не космические. К сожалению, вычислить их нельзя, но стоимость киловатт-часа можно прикинуть даже на основе чисел в этом посте. Я этого делать не стану, ибо чистая спекуляция. Осталось только объяснить, причём тут орало, но об этом в следующий раз.
вторник, 7 февраля 2017 г.
Механика сплошных вторников
Дилемма творческого человека: либо всё понятно и ничего нельзя сделать, либо непонятно что делать.
суббота, 4 февраля 2017 г.
Сыны ошибок трудных
![]() |
| Созвездие Mod-2, фото НАСА. |
![]() |
| Монтаж ротора Mod-2, архив НАСА. |
![]() |
| Схема ступицы Mod-2, из архива НАСА. |
![]() |
| Монтаж башни Mod-2, из архива НАСА. |
Стальная башня Mod-2 поднималась над землёй на 59 метров и была 3 метров в диаметре наверху и 6,4 метра внизу. Кроме того, чем уже американцы заслуженно гордятся, они поработали над тем, чтобы обезопасить башню от возможных резонансов со стороны ротора. Жёсткость башни просчитали такой, чтобы её собственная частота колебаний была в 1,3 раза больше частоты вращения ротора. Европейские же "самоварщики" делали всё без детальных расчётов, "по наитию", исходя из принципа "где сломалось, там усилить".
Коробку передач изготовили в Швеции, в славном городе Финспонг, на заводе Stal-Laval Turbine AB (ныне принадлежит Сименс). Коробка тоже инновационная, планетарная, облегчённая. Генератор синхронный на 2,5 МВт, 60 Гц, 1800 об./мин. Гидравлический привод установки курсового угла. Микропроцессорная система управления: 12 килобайт программной памяти, 4 килобайта оперативки, хватит на всё! С турбины снималась телеметрия с частотой 10 Гц, что позволяло подавать управляющие импульсы на лопасти с частотой 1 Гц. Вот так, в общих чертах.
Ротор- Диаметр 300 футов (91,5 метра)
- 2 лопасти, на качельках
- аэродинамический профиль НАСА 230ХХ
- скорость вращения 17,5 об/мин
- регулировка угла атаки на концах лопастей
- высота оси 200 футов (61 метров)
- наветренное расположение (на носу гондолы)
Редуктор
- трёхступенчатый планетарный
- передаточное отношение 103
- гидравлическая муфта на высокоскоростной оси
Генератор
- синхронный переменного тока 60 Гц
- 2500 кВт активной мощности
- 1800 об/мин
![]() |
| Внутри башни, на самом верху, из архива НАСА. |
Гондола
- активное управление курсовым углом
- сервопривод
- стальной цилиндр
- высота 59 метров
- лестница для персонала
- общая масса с турбиной 75 тонн
Рабочие характеристики
- минимальная скорость ветра 12 миль/час (5 м/с)
- номинальная скорость ветра 27,5 мили/час (12,5 м/с)
- максимальная скорость ветра 45 миль/час (20 м/с)
- полное время работы трёх ветряков в сумме 10321 часов
- средняя мощность 1,296 МВт
- полная наработка энергии ветропарком 13,379 млн. кВт*ч
Уже через три недели после начала совместной работы троицы, 8-го июня 1981 года, первый из агрегатов, WTS-1, потерпел аварию. Во время испытания системы аварийной остановки что-то пошло не так (поворотные части лопастей не повернулись по причине засора в клапанах), что при отключённом генераторе привело к раскрутке ротора до 30 об/мин и к повреждению силового привода. Выявление причин, устранение последствий и внесение изменений в конструкцию и регламент работы всех трёх ветряков заняло почти полгода. Через год после возобновления работы, в ноябре 1982 года, WTS-1 уже самостоятельно остановился во время порывистого ветра, достигавшего скорости 18 миль в час (8 м/с). В главной, низкоскоростной оси ротора была обнаружена усталостная трещина, соединявшая многочисленные отверстия для крепежа (ещё бы, сколько на ось повесили). Тут надо понять, что это повреждение, фактически, явилось запоздалой расплатой за выбор двухлопастной схемы ротора. Были и другие неполадки, это уже по мелочи, с ними три WTS отработали до конца 1985 года, после чего были демонтированы. Три, потому что был ещё один, WTS-4, но это уже совсем другая машина с другой историей.
Критики проекта НАСА из числа европейских ветропромышленников утверждают, что проекты НАСА ничего путного не принесли, ибо не создали промышленного прототипа. Последнее верно, но из него никак не следует первое. Козьма Прутков наставлял: "Бросая в воду камешки, смотри на круги, ими образуемые..." Специалисты НАСА неукоснительно следовали рекомендациям директора Пробирной палатки, и наблюдения, ими оставленные, впоследствии премного способствовали созданию ветряков мегаваттной мощности. С таким же успехом можно утверждать, что ничего путного после себя не оставили первые европейские ветропроизводители, ведь их самовары с экономической точки зрения были ничтожны, а от полного разорения этих капиталистов спасли европейские правительства и хлорофилловые марксисты. Поэтому, перейдём к конструктиву.
![]() |
| План ветропарка Гудноэ Хиллз, из архива НАСА. |
Первым делом в НАСА определили производительность турбин и зависимость её от скорости ветра (выше, рядом с итоговой таблицей приведена картинка с экспериментальными данными). Ведь одно дело теория, а другое -- практика. Ветряных турбин такой большой мощности прежде не существовало. Имея такую зависимость, можно было изучать различные эффекты. В частности, изучили влияние ветряков друг на друга, кильватерный эффект. Ветряки были расставлены по вершинам неправильного треугольника со сторонами в 5, 7 и 10 диаметров ротора турбины (456, 641 и 915 метров, соответственно). Поэтому расстояние между стоящими друг за другом турбинами менялось в зависимости от направления ветра, но не в том смысле, что ветряки бегали по полю, просто каждый раз для замеров бралась подходящая пара, та, что стояла вдоль направления ветра. Из наблюдений было определено, что уже на расстоянии между ветряками в 7-10 диаметров их роторов ослабления мощности из-за кильватерного эффекта не происходит, хотя след, очерченный специальным дымом, простирается на много большие расстояния. Современные исследования показывают, что ослабление всё же есть, но его величина порядка процента.
Летом 1983 года проводились эксперименты с вихрегенераторами. Вихрегенераторы, это такие маленькие гибкие пластины, похожие на пёрышки птиц, которые крепятся к выпуклой стороне аэродинамического профиля, ближе ко входной кромке и препятствуют отрыву потока от поверхности. У птиц малые покровные перья также работают, кстати говоря. Прежде отрыв потока использовался в роторах с неподвижными лопастями для ограничения вращения при высокой скорости ветра. У ротора Mod-2 часть лопастей также была неподвижна и там отрыв случался слишком рано, что снижало мощность турбины. Вихрегенераторы позволили повысить "сбор" электричества с турбины на 11%. Полезная вещь, иногда применяемая до сих пор.
Изучался, конечно же, шум, издаваемый турбинами. Была проведена шестинедельная серия экспериментов, в которой замерили всё что только можно было замерить. Этих данных хватило на десять лет осмысления, по крайней мере, статьи продолжали выходить. Замеры производились на земле, на башне, в воздухе с использованием воздушных шариков, на разных расстояниях от турбин и при разных погодных условиях. Субъективные прослушивания показали, что в направлении ветра турбину становится не слышно на расстоянии более 16 её диаметров (полтора километра, шумные получились Mod-2 очень).
![]() |
| Зависимость частоты ветра от его скорости, из архива НАСА. |
Так в Америке наука постепенно продвигалась вперёд, но для практики там настали благие дни.
Подписаться на:
Комментарии (Atom)














